Fundamenty prefabrykowane F100 - F200, betonowe, żelbetowe do słupów

Fundamenty do słupów oświetleniowych

MATERIAŁY

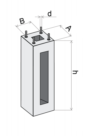
Fundamenty prefabrykowane wykonane są z betonu zbrojonego klasy C-30 z odpowiednimi otworami do wprowadzenia kabli o przekroju max. 4x95 mm². Beton w formie zagęszczany jest mechanicznie i stanowi jednolity blok, w którym osadzone są kotwy do mocowania stopy słupa. 

Elementy stalowe fundamentu (kotwy, nakrętki, podkładki) zabezpieczone antykorozyjnie przez cynkowanie. 

NORMY I CERTYFIKATY

Fundamenty prefabrykowane spełniają wymogi zharmonizowanej normy PN-EN 14991:2010.

ZABEZPIECZENIA ANTYKOROZYJNE

Bloki fundamentów zabezpieczone fabrucznie preparatem hydroizolacyjnym typu ABIZOL. Stalow elementy złączne zabezpieczone kołpakami z polietylenu odpornego na promieniowanie UV oraz niskie temperatury zgodnie z przepisami Prawa Budowlanego, spoczywa na projektancie obiektu. 

Polecamy również
 Rosa Fundamenty betonowe B-0 - B-80 bez elementów śrubowych
Polecamy
Rated 4.3/5 based on 20 customer reviews
od 52,28 zł
 Elektriko Słupki oznaczeniowe SO - K / M / S / +
Polecamy
Rated 5.0/5 based on 1 customer reviews
27,20 zł
 Elektriko Fundamenty B50 – B80
Polecamy
Rated 4.5/5 based on 6 customer reviews
od 243,60 zł
 Elektriko Fundamenty Betonowe D16 Abizolowany z elementami śrubowymi
Polecamy
Rated 4.5/5 based on 4 customer reviews
od 266,28 zł
 Elektriko Prefabrykowane fundamenty F75 - F160 / 200-250 żelbetowe do słupów i masztów
Polecamy
Rated 4.4/5 based on 9 customer reviews
od 300,90 zł
 Elektriko Fundamenty do słupów F 80V – F 200V
Polecamy
Rated 5.0/5 based on 1 customer reviews
od 315,20 zł
 Elektriko Fundamenty Betonowe F100 - F150 Abizolowany z elementami śrubowymi
Polecamy
Rated 4.3/5 based on 6 customer reviews
od 290,58 zł
 Elektriko Fundament pod obudowy
Rated 5.0/5 based on 1 customer reviews
od 380,80 zł
 Elektriko Fundament betonowy kwadratowy FBK
Polecamy
Rated 5.0/5 based on 1 customer reviews
od 221,76 zł
 Elektriko Słupek oznaczeniowo-pomiarowy SOP
Rated 5.0/5 based on 1 customer reviews
206,40 zł
 Elektriko Fundament betonowy okrągły FBO
Polecamy
Rated 5.0/5 based on 1 customer reviews
od 134,82 zł
 Elektriko Fundamenty do słupów B-80 – B-200
Polecamy
Rated 5.0/5 based on 1 customer reviews
od 336,11 zł
Fundamenty prefabrykowane F100 - F200, betonowe, żelbetowe do słupów
Rated 4.8/5 based on 5 customer reviews
Słupy oświetleniowe, uliczne, parkowe, latarnie i wysięgniki / Fundamenty do słupów oświetleniowych

Elektriko

Fundamenty prefabrykowane F100 - F200, betonowe, żelbetowe do słupów
328.41 PLN dostępny
 Elektriko Fundamenty prefabrykowane F100 - F200, betonowe, żelbetowe do słupów
Nasze osiągnięcia

e-Gazele Biznesu 2016 e-Gazele Biznesu 2020 e-Gazele Biznesu 2022

Wyróżnienia od Euler Hermes
"Złoty Płatnik 2015"
"Złoty Płatnik 2016"
Złoty płatnik 2015 Złoty płatnik 2016 Eksport

Firma Logisoft - właściciel marki Elektriko - prowadzi nieprzerwanie działalność już 20 lat - od 14 sierpnia 2006 roku. Zaufało nam już 50211 firm. W ofercie posiadamy 18 295 produktów.

Plików cookie używamy do spersonalizowania treści i reklam, aby oferować funkcje społecznościowe i analizować ruch w naszej witrynie.Informacje o tym, jak korzystasz z naszej witryny, udostępniamy partnerom społecznościowym, reklamowym i analitycznym.Partnerzy mogą połączyć te informacje z innymi danymi otrzymanymi od Ciebie lub uzyskanymi podczas korzystania z ich usług. Tutaj możesz dokonać szczegółowych ustawień lub cofnąć zgodę. Więcej informacji znajdziesz w naszej polityce prywatności .