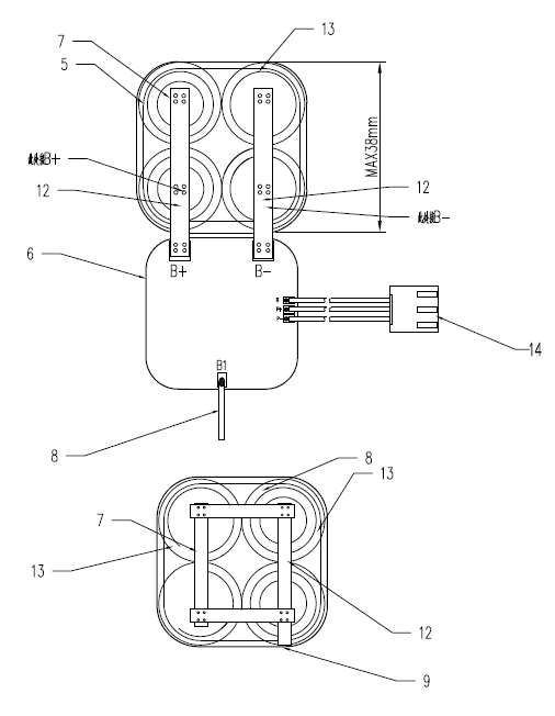
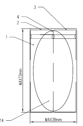
Pakiet B1 LiFePO4 6,4 V, 1500 mAh/3000 mAh
Piktogramy do opraw awaryjnych zamawiane osobno. Wybierz piktogram do oprawy ewakuacyjnej (dodatkowo płatne):

SE - awaryjna (ciemna)
Oprawa przy zasilaniu sieciowym nie świeci. Załącza sie po zaniku napięcia sieciowego i świeci przez zadeklarowany czas podtrzymania 1, 2 lub 3 godziny
SA - awaryjno-sieciowa (jasna)
Oprawa przy zasilaniu sieciowym świeci. Po zaniku napięcia sieciowego przełącza się w tryb awaryjny i świeci przez zadeklarowany czas podtrzymania 1, 2 lub 3 godziny
PT - ręczny przycisk testu
Oprawa wyposażona w przycisk testu, który pozwala na wykonanie testu pracy awaryjnej bez wyłaczania zasilania sieciowego.
RS - system monitoringu rubic
Oprawa wyposażona w moduł adresujący o unikalnym adresie współpracujący z systemem monitoringu RUBIC
AT - autotest
Oprawa wyposażona w autonomiczny system testujący
S - Sieciowa
Oprawa pracująca w sieci 230 V 50Hz nie posiadająca funkcji awaryjnej
CB - do centralnej baterii
Oprawa wyposażona w statecznik elektroniczny AC/DC współpracująca z każdym systemem centralnej baterii
Przykładowy kod zamówienia / indeks oprawy

PT to odmiana opraw z ręcznym przyciskiem testu. Jego naciśnięcie wprowadza oprawę w tryb awaryjny.
AT (Autotest) nie wymaga manualnej ingerencji – oprawy testują się same, zgodnie z opisem katalogowym przy modułach Lider Autotest.
Rodzaje testów:
Test A wyzwalany jest automatycznie co 30dni. Podczas wykonywania testu A sprawdzane są następujące parametry:
- Wymuszenie pracy awaryjnej oprawy na czas 5 minut
- Kontrola prądu rozładowania pakietu akumulatorów
- Kontrola napięcia pakietu akumulatorów
Test B wyzwalany jest automatycznie co 360 dni. Podczas wykonywania testu B sprawdzane są nastepujące parametry:
- Wymuszenie pracy awaryjnej oprawy na czas
- zadeklarowany dla danej oprawy (1, 2, 3 h)
- Kontrola prądu rozładowania pakietu akumulatorów
- Kontrola napięcia pakietu akumulatorów
W przypadku zaniku napięcia sieciowego podczas wykonywania testu A lub B układ pozostaje w stanie awaryjnego zasilania oświetlenia.
Sygnalizacja wykonywania testu jest kontynuowana. Po przywróceniu napięcia zasilania 230V AC układ nadal pozostaje w trybie oświetlenia awaryjnego, aż do przepracowania pełnego cyklu pracy odpowiednio dla testu A lub B.
Moduły kompatybilne z oprawami LOVATO
Dla oprawy lovato N w wersji SA lub SE
- NiCd3,6V 1,5Ah - pakiet akumulatorów NiCd 3,6V 1500mAh Sc B5 „kiełbaska” do oprawy lovato N
- NiMH3,6V 1,5Ah - pakiet akumulatorów NiMH 3,6V 1500mAh B5 „kiełbaska” do oprawy lovato N
Dla oprawy lovato N w wersji Autotest
- NiCd4,8V 1,5Ah - pakiet akumulatorów NiCd 4,8V 1500mAh Sc „kiełbaska” do oprawy lovato N
- NiMH4,8V 1,5Ah - pakiet akumulatorów NiMH 4,8V 1500mAh „kiełbaska” do oprawy lovato N
- Okres gwarancji na ten produkt wynosi 24 miesiące od daty sprzedaży
- Dokładamy wszelkich starań, aby sprzedawane przez nas produkty były najwyższej jakości
- Towar jest fabrycznie nowy
- Gwarancja udzielana i realizowana jest na podstawie faktury VAT
- Realizacja reklamacji: naprawa towaru lub wymiana na nowy, wolny od wad
- Zgłoszenia reklamacyjne rozpatrujemy w terminie 14 dni (w uzasadnionych przypadkach może termin ulec wydłużeniu, o czym informujemy)
Szczegółowe warunki gwarancji dostępne są na stronie https://new.elektriko.pl/gwarancje.html
Koszt dostawy zamówienia:
»
paczka kurierska do 30kg
19,95 zł netto.
»
paleta EUR o wymiarach 120x80cm
199,00 zł netto.
» Ze względów bezpieczeństwa m. in.
panele solarne, fundamenty oraz
towary wielkogabarytowe wysyłamy na palecie.
»
dostawa słupów odbywa się transportem dedykowanym. Koszt dostawy jest uzależniony od wagi i wymiarów ładunku oraz od odległości od magazynu.
Przykładowe stawki (ceny netto):
- 1x słup 3-6m, 30-100kg, bus, 200km - 500-600zł
- 1x słup 3-6m, 30-100kg, bus, 500km - 600-800zł
- 5x słup 3-6m, 150-500kg, bus, 200km - 600-900zł
- 5x słup 3-6m, 150-500kg, bus, 500km - 700-1000zł
- 10x słup 3-6m, 300-1000kg, bus, 200km - 700-1000zł
- 10x słup 3-6m, 300-1000kg, bus, 500km - 900-1200zł
- 1x słup 7-9m, 50-500kg, solówka, 200km - 700-900zł
- 1x słup 7-9m, 50-500kg, solówka, 500km - 1000-1200zł
- 5x słup 7-9m, 250-2500kg, solówka, 200km - 900-1200zł
- 5x słup 7-9m, 250-2500kg, solówka, 500km - 1200-1600zł
- 10x słup 7-9m, 500-3500kg, solówka, 200km - 1200-1500zł
- 10x słup 7-9m, 500-3500kg, solówka, 500km - 1300-2000zł