Master Mhn-se 2000w/956 Gx22 400v Ho Unp

Kod Elektriko: 75740 | Kod Philips: 8727900928778
Cena
2 722,48 zł brutto
2 213,40 zł netto
szt.  
szt.

Ocena

* * * * *

oceń produkt

Parametry wariantu
Numerator – Liczba paczek w opakowaniu zewnętrznym 1
Waga netto (szt.) 0.152kg
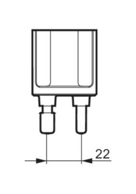
Trzonek GX22 [ GX22]
Strumień świetlny (znamionowy) (Nom) 227000lm
Skorelowana temperatura barwowa (Nom) 5600K
Power (Rated) (Nom) 2000W
Funkcja ściemniania brak
Voltage (Nom) 400V
Wykończenie żarówki przezroczysta (CL)
Oznaczenie koloru dzienna
Skuteczność świetlna (znamionowa) (Nom) 108lm/W
Strumień świetlny (znamionowy) (Min) 215000lm
Napięcie zasilania lampy 400 V [ 400]
Prąd lampy (EM) (Nom) 11.2A
Napięcie w momencie zapłonu (Min) 360V
Voltage (Max) 225V
Voltage (Min) 190V
Określona skuteczna moc promieniowania 60mW/klm
Temperatura punktu zbliżenia (Max) 450°C
Temperatura żarówki (Max) 1015°C
Charakterstyki ogólne
Wykończenie reflektora Clear
Pozycja pracy p15 [Parallel +/-15D or Horizontal(HOR)]
Charakterystyki świetlne
Temp. barwowa 5600 K
Techniczna temperatura barwowa 5600 K
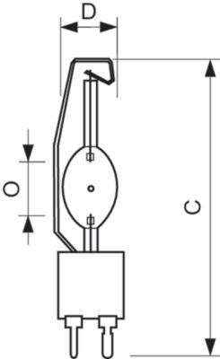
Wymiary produktu
Długość łuku O 25 mm
Podstawowe informacje
Ściemnialny NIE
Bańka TD40 [TD 40mm]
Wpływ na środowisko
Klasa efekt. energ. (EEL) A+
Dane produktu
Opakowanie zbiorcze 1

Opis produktu

  • Umożliwia kompaktowe i bardzo wydajne systemy opraw z wysokiej precyzji optyki dla dobrej kontroli wiązki światła przy minimalnym
  • Bardzo dobre oddawanie barw tworzy miłą atmosferę z wysokim komfort wizualny dla graczy i widzów
  • Ciągły rozkład widmowy oferuje doskonałe rozwiązanie dla (na wpół) profesjonalnych stadionach z regularnych transmisji telewizyjnej

Charakterystyka Urządzenia

  • Bardzo kompaktowe źródła (krótki łuk) o wysokiej skuteczności świetlnej i najwyższej oddawania barw
  • Wyniki koncepcja podwójnej szczypta w długiej żywotności
  • Biały naturalny wygląd kolorów, wysoki wskaźnik oddawania barw i dobra trwałość koloru
  • Temperatura barwowa światła dziennego ułatwia przejście od światła dziennego do sztucznego oświetlenia

Aplikacje / Zastosowania

Profesjonalne oświetlenie sport i projektorów

Polecamy również
 Osram PLANTASTAR-TS
Rated 5.0/5 based on 1 customer reviews
394,82 zł
Lampa Philips MASTER MHN-SB
Rated 5.0/5 based on 1 customer reviews
1 269,45 zł
Lampa metalohalogenkowa Philips MASTERColour CDM-Tm Mini PGJ5
Rated 5.0/5 based on 1 customer reviews
225,33 zł
Master Mhn-se 2000w/956 Gx22 400v Ho Unp
Rated 5.0/5 based on 1 customer reviews
Lampy wyładowcze metalohalogenkowe / Lampy wyładowcze pozostałe

Philips

Master Mhn-se 2000w/956 Gx22 400v Ho Unp 75740 75740 75740
2722.48 PLN dostępny
P-75740-141381 P-75740-141382 P-75740-141383
Nasze osiągnięcia

e-Gazele Biznesu 2016 e-Gazele Biznesu 2020 e-Gazele Biznesu 2022

Wyróżnienia od Euler Hermes
"Złoty Płatnik 2015"
"Złoty Płatnik 2016"
Złoty płatnik 2015 Złoty płatnik 2016 Eksport

Firma Logisoft - właściciel marki Elektriko - prowadzi nieprzerwanie działalność już 20 lat - od 14 sierpnia 2006 roku. Zaufało nam już 50211 firm. W ofercie posiadamy 18 295 produktów.

Plików cookie używamy do spersonalizowania treści i reklam, aby oferować funkcje społecznościowe i analizować ruch w naszej witrynie.Informacje o tym, jak korzystasz z naszej witryny, udostępniamy partnerom społecznościowym, reklamowym i analitycznym.Partnerzy mogą połączyć te informacje z innymi danymi otrzymanymi od Ciebie lub uzyskanymi podczas korzystania z ich usług. Tutaj możesz dokonać szczegółowych ustawień lub cofnąć zgodę. Więcej informacji znajdziesz w naszej polityce prywatności .