Wybierz wariant produktu spośród 12

PXF - Dane mechaniczne
Rodzaj montażu Wbudowany
Materiał obudowy Blacha stalowa
PXF - Dane optyczne
Odbłyśnik Wysoki połysk
Kolor klosza/pokrywy Brak
PXF - Dane elektryczne
Źródło światła LED
Liczba źródeł światła 1
Napięcie znamionowe 230 V
Rodzaj LED 5630
Zawiera źródło światła Tak
Rodzaj osprzętu Zasilacz
PXF - Dane informacyjne
Kolor Biały
PXF - Dane świetlne
Barwa światła Biała
Wskaźnik oddawania barw 80
Klasa oprawy I
Rozsył światła DI
PXF - Certyfikaty i oznaczenia
Klasa ochronności I
Stopień ochrony (IP) IP40
CE Tak
Klasa energetyczna A+

Oprawa oświetleniowa o uniwersalnym zastosowaniu we wszystkich typach pomieszczeń biurowych tj. korytarze, sale konferencyjne, pomieszczenia z komputerami. Simple LED została wykonana w wersji z rastrem parabolicznym (PAR) oraz z kloszem opal (OPAL). Produkt wyposażono w zasilacze o współczynniku mocy cos φ > 0,95. Możliwość sterowania oświetleniem DALI - na zapytanie.

Wykonanie: obudowa ze blachy stalowej malowanej elektrostatycznie (w standardzie kolor biały), raster paraboliczny (PAR) z płytą mikropryzmatyczną (MPRM) lub klosz opal (OPAL) z poliwęglanu

Montaż: sufitach podwieszanych 600x600 o widocznej konstrukcji nośnej. Oprawę należy montować w połączeniu z istniejącymi płytami stropu, które nie wchodzą w zakres zamówienia.

Akcesoria: -

Zasilanie: 230 V

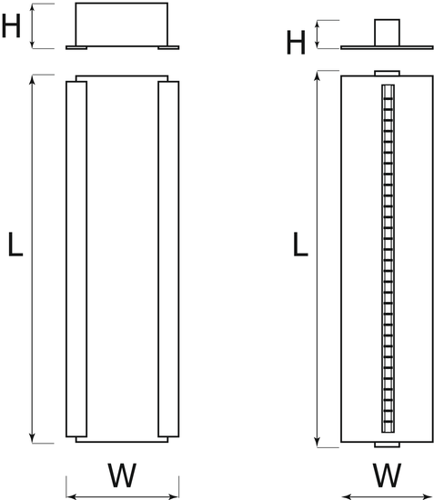
 LWHCDE
PX2066001 17W 595 134 87 595 117 90
PX2066008 17W 595 134 87 595 117 90
PX2066015 31W 595 134 87 595 117 90
PX2066022 31W 595 134 87 595 117 90
PX2066057 14W 595 134 53 595 53 60
PX2066064 14W 595 134 53 595 53 60
PX2066029 31W 1195 134 87 1195 117 90
PX2066036 31W 1195 134 87 1195 117 90
PX2066043 60W 1195 134 87 1195 117 90
PX2066050 60W 1195 134 87 1195 117 90
PX2066071 27W 1195 134 53 1195 53 60
PX2066078 27W 1195 134 53 1195 53 60

L - Długość
W - Szerokość
H - Wysokość / głębokość
C - Długość wbudowania
D - Szerokość wbudowania
E - Głębokość wbudowania

Polecamy również
 Luxiona Panel podtynkowy RIM LED Compact
Polecamy
Rated 5.0/5 based on 1 customer reviews
221,34 zł
 Glamox Panel LED C25 60x60cm
Rated 5.0/5 based on 1 customer reviews
od 175,50 zł
 Elektriko Oprawy QUATTRO 2.0 slim
Rated 5.0/5 based on 1 customer reviews
od 441,00 zł
 Luxiona Panel podtynkowy Backpanel LED
Rated 5.0/5 based on 1 customer reviews
od 102,40 zł
 Brilum Oprawa sufitowa ATUEL SQ
Rated 5.0/5 based on 1 customer reviews
od 14,25 zł
 Luxiona Panel podtynkowy BACKLITE  LED
Rated 5.0/5 based on 1 customer reviews
185,25 zł
Oprawa PXF Archida LED IP20
Rated 5.0/5 based on 1 customer reviews
262,55 zł
 Glamox Oprawa LED C77 60x60cm
Rated 5.0/5 based on 1 customer reviews
od 481,50 zł
 Elektriko Oprawy QUATTRO Q4 IP65
Rated 5.0/5 based on 1 customer reviews
997,43 zł
 Elektriko PANEL COMPACT 600 UGR<19 CRI90,  600 x 600 mm
Rated 5.0/5 based on 1 customer reviews
277,20 zł
Oprawa Philips CoreLine recessed RC136B wbudowywana
Rated 5.0/5 based on 1 customer reviews
493,00 zł
 Bowi Oprawa led Redom 42W 1,2m 4000K biała karton gips
Rated 5.0/5 based on 1 customer reviews
131,94 zł
Oprawa Simple LED
Rated 5.0/5 based on 1 customer reviews
Lampy podtynkowe wpuszczane w sufit podwieszany, oprawy, oświetlenie / Panele LED oświetleniowe, oprawy na panel kwadratowy

PXF

Oprawa Simple LED
204.18 PLN dostępny
Oprawa PXF Simple LED
Nasze osiągnięcia

e-Gazele Biznesu 2016 e-Gazele Biznesu 2020 e-Gazele Biznesu 2022

Wyróżnienia od Euler Hermes
"Złoty Płatnik 2015"
"Złoty Płatnik 2016"
Złoty płatnik 2015 Złoty płatnik 2016 Eksport

Firma Logisoft - właściciel marki Elektriko - prowadzi nieprzerwanie działalność już 20 lat - od 14 sierpnia 2006 roku. Zaufało nam już 49661 firm. W ofercie posiadamy 18 402 produktów.

Plików cookie używamy do spersonalizowania treści i reklam, aby oferować funkcje społecznościowe i analizować ruch w naszej witrynie.Informacje o tym, jak korzystasz z naszej witryny, udostępniamy partnerom społecznościowym, reklamowym i analitycznym.Partnerzy mogą połączyć te informacje z innymi danymi otrzymanymi od Ciebie lub uzyskanymi podczas korzystania z ich usług. Tutaj możesz dokonać szczegółowych ustawień lub cofnąć zgodę. Więcej informacji znajdziesz w naszej polityce prywatności .