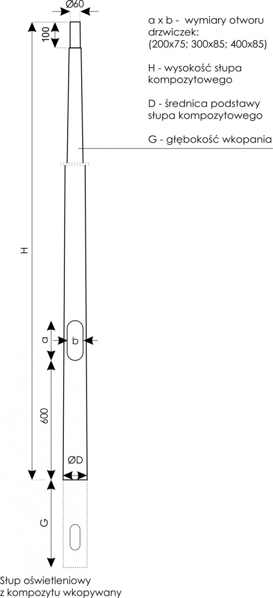
Słup oświetleniowy z kompozytu wkopywany

Słupy kompozytowe oświetleniowe Słupy wkopywane

Słupy kompozytowe mają wiele zalet ważnych dla środowiska.

Energia potrzebna do wytworzenia słupa kompozytowego jest znacząco niższa od energii koniecznej do wytworzenia słupa metalowego (stalowego lub aluminiowego).

Słupy z kompozytu wzmocnionego włóknem szklanym są wytrzymałe na rozciąganie i zginanie.

Słupy kompozytowe są trwałe, długi okres eksploatacji (ocenia się na nawet do 40-50 lat)

Powierzchnia zewnętrzna słupa to żelkot, dzięki któremu można uzyskać kolor słupa w dowolnej barwie z palety RAL, odporny na działanie promieniowania słonecznego.

Emisja CO2 do atmosfery podczas produkcji słupów kompozytowych jest mniejsza niż podczas produkowania innych słupów.

Słupy oświetleniowe kompozytowe mogą być poddane recyklingowi – trwają prace mające na celu 100% przetworzenie materiałów kompozytowych.

 

Dodatkowo słupy kompozytowe:

- są odporne na promieniowanie UV oraz różne warunki atmosferyczne;

- charakteryzują się niskim pochłanianiem energii zderzenia (niska absorpcja energii), np. z pojazdem – co oznacza znikome uszkodzenia pojazdu oraz zmniejszenie ryzyka uszkodzeń ciała kierowcy i pasażerów;

- materiał kompozytowy nie stanowi żadnej wartości złomowej; eliminuje to w znacznym stopniu możliwość kradzieży oraz znacznie ogranicza ilość dewastacji, dekompletacji i związanych z tym bieżących napraw;

- są doskonałym izolatorem – nie przewodzą prądu, są bezpieczne dla otoczenia;

- ze względu na niską wagę są proste w montażu – obniżają koszty robocizny.

Słupy oświetleniowe wykonywane są w dowolnej kolorystyce z palety RAL, w zależności od wymagań Klienta.

Najczęściej kupowane razem z

Usługi
 Elektriko Usługi
Usługi
od 305,10 zł
Polecamy również
 Elektriko Słupy teletechniczne kompozytowe do montażu linii światłowodowych
Polecamy
Rated 3.9/5 based on 59 customer reviews
od 24,90 zł
 Elektriko Słupy oświetleniowe kompozytowe Easy Pole z podstawą łamaną
Rated 5.0/5 based on 1 customer reviews
od 2 100,00 zł
 Elektriko Żerdzie kompozytowe EKO 9-12m
Rated 5.0/5 based on 1 customer reviews
od 3 300,00 zł
 Elektriko Słupy kompozytowe, stożkowe SK wkopywane
Rated 4.5/5 based on 2 customer reviews
od 1 068,34 zł
 Elektriko Słupy oświetleniowe Basic Pole do fundamentu
Polecamy
Rated 5.0/5 based on 1 customer reviews
od 1 350,00 zł
 Elektriko Odciąg / Iglica masztu odgromowego
Rated 5.0/5 based on 2 customer reviews
1 700,00 zł
 Elektriko Maszty kompozytowe flagowe MKF
Rated 5.0/5 based on 23 customer reviews
1 843,50 zł
 Elektriko Słup kwadratowy drewniany 3-6m
Rated 5.0/5 based on 2 customer reviews
od 1 055,70 zł
 Elektriko Maszty stożkowe kompozytowe do montażu flagi FLAG-02
Rated 5.0/5 based on 23 customer reviews
1 410,00 zł
 Elektriko Maszty stożkowe kompozytowe do montażu flagi FLAG-03
Rated 5.0/5 based on 23 customer reviews
1 635,00 zł
 Elektriko Maszty stożkowe kompozytowe do montażu flagi FLAG-01
Rated 5.0/5 based on 23 customer reviews
1 583,25 zł
Słup oświetleniowy z kompozytu wkopywany
Rated 5.0/5 based on 1 customer reviews
Słupy oświetleniowe, uliczne, parkowe, latarnie i wysięgniki / Słupy kompozytowe oświetleniowe

Elektriko

Słup oświetleniowy z kompozytu wkopywany
1019.42 PLN dostępny
 Elektriko Słup oświetleniowy z kompozytu wkopywany
Nasze osiągnięcia

e-Gazele Biznesu 2016 e-Gazele Biznesu 2020 e-Gazele Biznesu 2022

Wyróżnienia od Euler Hermes
"Złoty Płatnik 2015"
"Złoty Płatnik 2016"
Złoty płatnik 2015 Złoty płatnik 2016 Eksport

Firma Logisoft - właściciel marki Elektriko - prowadzi nieprzerwanie działalność już 20 lat - od 14 sierpnia 2006 roku. Zaufało nam już 50211 firm. W ofercie posiadamy 18 295 produktów.

Plików cookie używamy do spersonalizowania treści i reklam, aby oferować funkcje społecznościowe i analizować ruch w naszej witrynie.Informacje o tym, jak korzystasz z naszej witryny, udostępniamy partnerom społecznościowym, reklamowym i analitycznym.Partnerzy mogą połączyć te informacje z innymi danymi otrzymanymi od Ciebie lub uzyskanymi podczas korzystania z ich usług. Tutaj możesz dokonać szczegółowych ustawień lub cofnąć zgodę. Więcej informacji znajdziesz w naszej polityce prywatności .